Nota:
El acceso a esta página requiere autorización. Puede intentar iniciar sesión o cambiar directorios.
El acceso a esta página requiere autorización. Puede intentar cambiar los directorios.
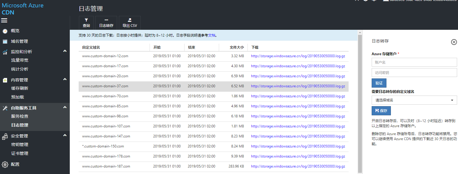
用户可以下载 CDN 日志对访问域的访问状态进行分析,也可以使用日志转储功能对日志进行长期存储。
使用说明
- 日志有 8-12 小时的延迟
- 日志按小时提供
- 系统提供近 30 天的日志数据
- 尚不支持实时广播加速和海外加速方案
功能说明
- 日志下载:提供最近 30 天的日志存储和下载。 转到日志管理视图,单击“查询”功能,选择域名和时间,然后单击“刷新”。

日志转储:默认情况下,日志下载仅提供 30 天的存储时间。 如果需要存储更长时间,可以使用日志转储功能将日志存储在配置的 Azure 存储帐户中,方便进行日志存储和分析。
- 单击日志转储函数,输入 Azure 存储帐户和需要日志转储函数的自定义域名,然后单击“保存”。
- 日志以 blob 格式保存,采用名为“cdn-access-logs”的容器。 每个 Blob 都包含使用 GZip 压缩的 .csv 文件。 命名格式为 azurecdntest-CST-2019-05-31-0900-0959.csv.gz。

字段格式说明
日志字段含义
- c-ip:客户端 IP 地址
- timestamp:访问时间
- cs-method:HTTP 请求操作,例如 GET/HEAD
- cs-uri-stem:请求的 URI
- http-ver:HTTP 协议版本号
- sc-status:HTTP 状态代码
- sc-bytes:服务器发送到客户端的字节数
- c-referer:客户端引用方 URI
- c-user-agent:客户端用户代理标识
- rs-duration (ms):完成请求所用的时间(以毫秒为单位)
- hit-miss:内容分发网络缓存命中和未命中标识
- s-ip:生成日志的内容分发网络边缘节点的 IP 地址
日志内容示例
12.22.25.27,5/20/2019 7:00:28 PM +00:00,GET,"/mytest/2.png",HTTP/1.1,200,48721,"/mytest/referer","Apache-HttpClient/4.5.6 (Java/1.8.0_201)",7,HIT,110.110.54.110